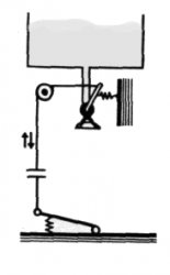
Для экономного расходования воды в летнем душе дополните его
МАЛЕНЬКАЯ ХИТРОСТЬ
Некоторыми инструментами, такими, как шило, зенковка, штихели и т.д., гораздо удобнее работать, если у них рукоятка изогнута. Заготовками для таких рукояток могут послужить сухие ветки деревьев.
Чтобы телефонный аппарат не соскальзывал с полочки, надо приклеить к ее поверхности две крышечки от лимонада. Аппарат ставится в них ножками и таким образом фиксируется. Со стороны крышечки совершенно не видны.
Если просверлить шуруп, вставить в отверстие стальное колечко и запаять стык, то с помощью этого простого приспособления можно надежно и аккуратно закрепить капроновый шнур или леску для сушки белья.
При неправильной эксплуатации свинцовый аккумулятор суль-фатируется и преждевременно теряет емкость. Устранить суль-фатацию можно промывкой водно-аммиачным раствором трило-на Б. Из полностью заряженного аккумулятора сливают электролит, промывают дистиллированной водой и на 1 час заполняют водным раствором аммиака (5%) и трилона (2%). Раствор сливают, и аккумулятор несколько раз промывают дистиллированной водой. При сильной сульфатации процедуру повторить. Затем следует зарядка обычным образом.
Иногда нужно герметично закупорить бутылку или флакон с какой-нибудь летучей жидкостью, а под рукой нет подходящей пробки. Выйти из положения поможет вощеная бумага и два кусочка лейкопластыря.
